利達JTW-ZDM-LD3300EN/C 點型感溫火災探測器(A2S)(編碼型)接線安裝技術
介紹:
利達JTW-ZDM-LD3300EN/C 點型感溫火災探測器(A2S)采用 NTC 負溫度系數熱敏電阻,內置單片機,具有現場參數采集的能力,能準確分析火情、 辨別真偽,降低誤報率,該探測器占一個地址點,采用電子編碼方式,操作簡便。采用特殊防潮技術、表面貼裝(SMT)生產工藝及超薄式結構設計,無 污染,抗潮濕、抗干擾能力強,可靠性高。適用于經常產生粉塵、蒸汽、霧氣、煙氣的化學實驗室、廚房、鍋爐房、吸煙室、體育場館、會議室、發電機 房、烘干車間等各種室內場所。可以與本公司生產的全系列火災報警控制器配合使用。經應急管理部消防產品合格評定中心及 消防電子產品質量檢驗 檢測中心按照 GB4716-2005《點型感溫火災探測器》、CNCA-C18-01《強制性產品認證實施規則》、CCCF-CCC-01《強制性產品認證實施細則》檢驗 和審核,符合認證要求,取得消防產品 3C 認證證書。
功能:
★ 二總線、無極性。
★ 采用專用嵌入式 MCU 技術的第二代分布智能型產品。
★ 采用電子編碼方式,占一個地址點。
★ 該產品具有定溫特性,無差溫特性。
★ 模擬量感溫探測器,可將現場采集的數據上傳給控制器。
主要技術指標:

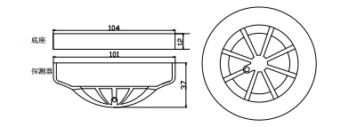
探測器外形結構示意圖:

探測器安裝及接線示意圖:與 LD3000EN/C 相同。
安裝步驟:與 LD3000EN/C 相同。
相關文件下載
探測器類—JTW-ZDM-LD3300EN C 安裝使用說明書.pdf

公司資質
檢測報告
檢測報告
環境管理體系證書
質量管理體系證書
蘇公網安備32058102002152號