利達LD3600G總線短路保護器 隔離器

一、利達LD3600G總線短路保護器概述
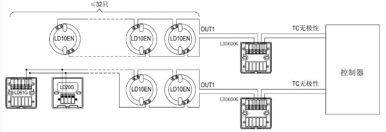
利達LD3600G總線短路保護器主要用于火災報警控制器的二總線回路中,隔離線路中的短路點,保證線路中的其他設備的正常運行。可以與利達生產的全系列火災報警控制器配合使用。
二、利達LD3600G總線短路保護器功能特點
二總線,無極性,不占地址點。
不需要外接電源。
單向使用。
三、利達LD3600G總線短路保護器技術參數
型號 LD3600G
名稱 總線短路保護器
品牌 利達
工作電壓 DC14~DC24V
工作電流 <3.0mA
指示燈 工作指示燈-監視狀態紅燈常亮,短路指示燈-短路時紅燈常亮
工作環境溫度 -40℃~+55℃
相對濕度 ≤95%(40±2℃)無凝露
外殼防護等級 IP40
安裝方式 配合LD61G底座安裝,插拔式結構
重量 約100g
外形尺寸 85mm×85mm×35mm(含底座)
四、利達LD3600G總線短路保護器接線圖

TC1、TC2:探測二總線,無極性
OUT1、OUT1:二總線輸出線

公司資質
檢測報告
檢測報告
環境管理體系證書
質量管理體系證書
蘇公網安備32058102002152號